Don'tcha just love looking at a typewriter patent drawing
and then seeing how it came to fruition, exactly as envisaged and sketched?
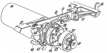
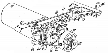
Above, Arthur Bott Pateman (1886-1972) for the Imperial 50 in 1925.
Above, Arthur Bott Pateman (1886-1972) for the Imperial 50 in 1925.
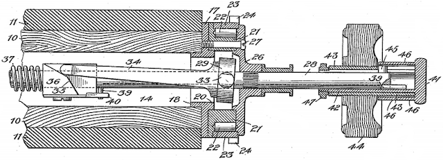
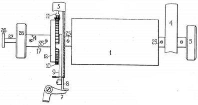
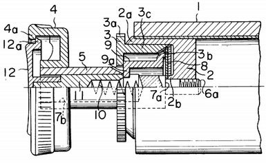
German-born William Ferdinand Helmond (1871-) for the Underwood 5; this was a culmination of 19 years of development by the company on the variable knob and platen clutch:
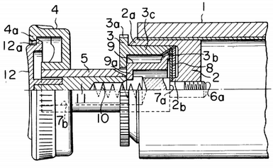
Carl Gabrielson for L.C. Smith
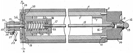
Arthur Briggs for Remington
Lewis Cary Myers for the Royal 10
Willie Dobson for Underwood
Terashima Toshikatu for Nakajima ALL
This is my 2000th post (or thereabouts, give or take one) in more than four years of the ozTypewriter blog. It coincides with 1.8 million page views, 150 followers and more than 7500 comments. To mark the occasion (or thereabouts, give or take a day or two), I thought I'd post once more on the subject of "On This Day in Typewriter History". The more so because I received a comment this week from old friend Peter Baker (oh no, "notagain"), who was a loyal follower of the series, since it often used to give him visions of a Fallow Fields Typewriter Manufacturing Company. Ah, such sweet memories! The attempt to cover the full 365 days in "On This Day" died a natural death (through an understandable lack of interest) in April last year, after I'd gotten seven-tenths of the way toward completion. But since the series accounts for 13 per cent of all my posts, I figured I'd give it one last shot.Fooling around with Olivetti portables on the weekend brought variable knobs and freewheelin' platens back to mind. I can't recall whether the presence of a platen clutch and the ability to temporarily free platens from their ratchet wheels came up on Richard Polt's detailed survey on essential features for the perfect typewriter; perhaps it was just assumed to be a given. But of course that wasn't always the case.
In all my years of using typewriters, I only ever recall being impressed by a different kind of font twice, first when I used my late sister-in-law's Imperial 65 standard in 1959 (I loved those long descenders on the 3, 5, 7 and 9), the other time in 1968, when I bought an Olivetti Studio 44 with a transiently cool sans serif extended typeface. The rest of the time one typewriter font has been pretty much the same as another, as far as I'm concerned. A lifetime spent working with both typewriters and typography has a tendancy to sort out the priorities. Young Singaporean ladies who buy typewriters for their fonts are happily far from being on the same wavelength as me. I rarely if ever used tabulation, or the red on bichrome ribbons, or a repeat spacer. I still have no idea about touch control - it's all still thud, thud, thud to me. But freewheelin' platens - now there's a thing! A platen clutch is an entirely different matter. This facility is one "modification" to a basic typewriter that, as a journalist, I had cause to use many, many times. And bless it for ever being invented and added to the typewriter.
Inconsequential you say? Not for me it isn't. And, a century ago, none of the leading United States typewriter manufacturers thought so either. They set some of their finest mechanical engineering minds to the task of perfecting the platen clutch: Richard William Uhlig, Helmond and Dobson at Underwood, Myers at Royal, Smith and George Gould Going at Remington, Gabrielson at L.C. Smith ...
THOMAS WHALEY
Actually, this quest had started long before 1915, 30 years earlier to be precise. Just as, between 1873 and 1893, typewriter engineers strove to find a way for typists to see what they were writing, so too did they consider freewheelin' platens a vital necessity missing from the original typewriter.
Thomas Whaley
Parisian Emile Grosbois adapted Thomas Whaley's design for Wyckoff, Seamans and Benedict. This can be seen on the Remington 2, above.
Thomas Whaley's 1885 device could presumably have been applied to both the Remington 2 and the Caligraph (which, keyboard aside, was built on very similar lines), although it appears here to have been applied only to the Remington, enabling the platen to be turned back down.
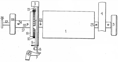
The first attempt came in 1885, from a Thomas Whaley, a persistent if mysterious Colorado inventor, who so rightly wrote in his patent specifications: "in type-writing machines ... a roller or paper-carrier, in
connection with a ratchet-wheel operated upon by a lever and pawl, is so
constructed and worked as to revolve the roller and carry the paper in one
direction, so that where a line is printed and the roller moved, the roller and
paper cannot then be reversed and turned back, the line re-written or corrected,
without removing the paper from the roller, except the paper be drawn back
with the hand, which is not done with accuracy and speed. The object of my
improvement is to provide a means by which said roller may, by the same lever, be
moved forward or reversed, and thereby the paper be carried in either direction
at the will of the operator on the said machines, and thereby facilitate the
correcting of errors and provide a speedy method or means of
interlineation."
MERRITT, WALLACE, UHLIG
A young Casper D.Wallace. Imprisoned by the Confederate Army in the American Civil War, he later worked for James Densmore in Pennsylvania. After Densmore's death in 1889, Wallace became works superintendent for the American Writing Machine and Yost Writing Machine companies in Bridgeport, Connecticut, and on the eve of World War I supervised the construction of US submarines. He was still alive well into his 90s, in the late 1930s.
Three men heavily involved in turn-of-the-century developments of the typewriter - Henry White Merritt (1858-) for Densmore, Union Army veteran and prisoner of war Casper D. Wallace (1844-) for Yost and Richard William Uhlig (1860-1937) for Underwood - made significant advances with the platen clutch between 1897 and 1909. Merritt had been working for the Smith brothers when they joined the Union Trust and he and Walter Jay Barron patented substantial improvements to the Densmore on behalf of the trust.
Merritt
Wallace
Uhlig
Bridgeport Herald, December 4, 1898
UNDERWOOD
Uhlig moved on to his own typewriter projects while at Underwood his work was continued by William Ruger Jr (1876-) of Wisconsin, Edward Burns and George W.Horton, and by Frank C. Ursbruck (1860-), all with designs which Helmond later improved upon:
Ruger
Ursbruck
LOCKWOOD 1915
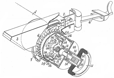
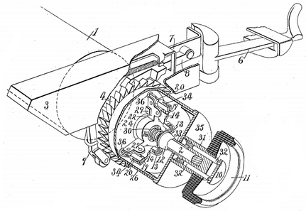
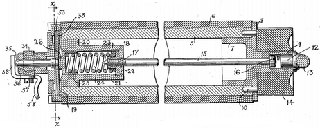
What led to this ramblin' rant on freewheelin' platens is that on this day 100 years ago, Marquis Hartwell Lockwood (1870-1938) took his work on the platen clutch for Underwood, started in 1912, still further:
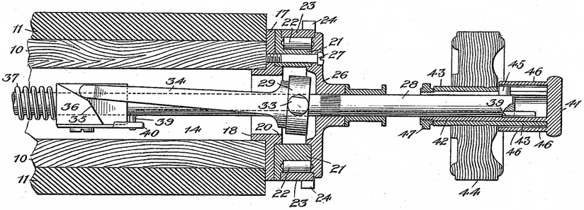
1914
1915

























No comments:
Post a comment